Proposta tecnológica para o ecossistema PlayStation redefine a comunicação entre processador e GPU, prometendo latência ultra baixa e otimização crítica para realidade virtual e hardware portátil.
A Sony Interactive Entertainment submeteu recentemente uma patente que pode representar o fim de um dos problemas mais persistentes dos jogos de mundo aberto moderno: o surgimento repentino de objetos, conhecido como “pop-in”. A nova tecnologia foca em uma reestruturação profunda da hierarquia de processamento, concedendo à GPU uma autonomia sem precedentes para tomar decisões de renderização em tempo real. Atualmente, a dependência excessiva de instruções rígidas enviadas pela CPU cria gargalos sistêmicos que resultam em latência e microtravamentos. Ao permitir que a placa gráfica interprete instruções mais abertas e ajuste o nível de detalhe dinamicamente, a Sony busca uma fluidez narrativa e visual que os métodos tradicionais de sincronização entre componentes não conseguem mais sustentar diante da complexidade dos ativos 4K e 8K.
Analiticamente, a solução proposta introduz um sistema de “gerenciamento de inventário de dados”, que monitora constantemente o estado de cada elemento na cena, desde sua qualidade ideal até o tempo decorrido desde sua última exibição. Estrategicamente, essa inteligência de hardware permite que o sistema priorize recursos de forma preditiva, garantindo que a memória de vídeo e o processamento sejam alocados exatamente onde o olho do jogador está focado. Para a indústria em 2026, onde o Ray Tracing e a reconstrução por IA (como o PSSR 2) já demandam muito da largura de banda, desonerar a CPU de tarefas repetitivas de controle de nível de detalhe (LOD) é um movimento técnico essencial para viabilizar o salto geracional esperado para o PlayStation 6.

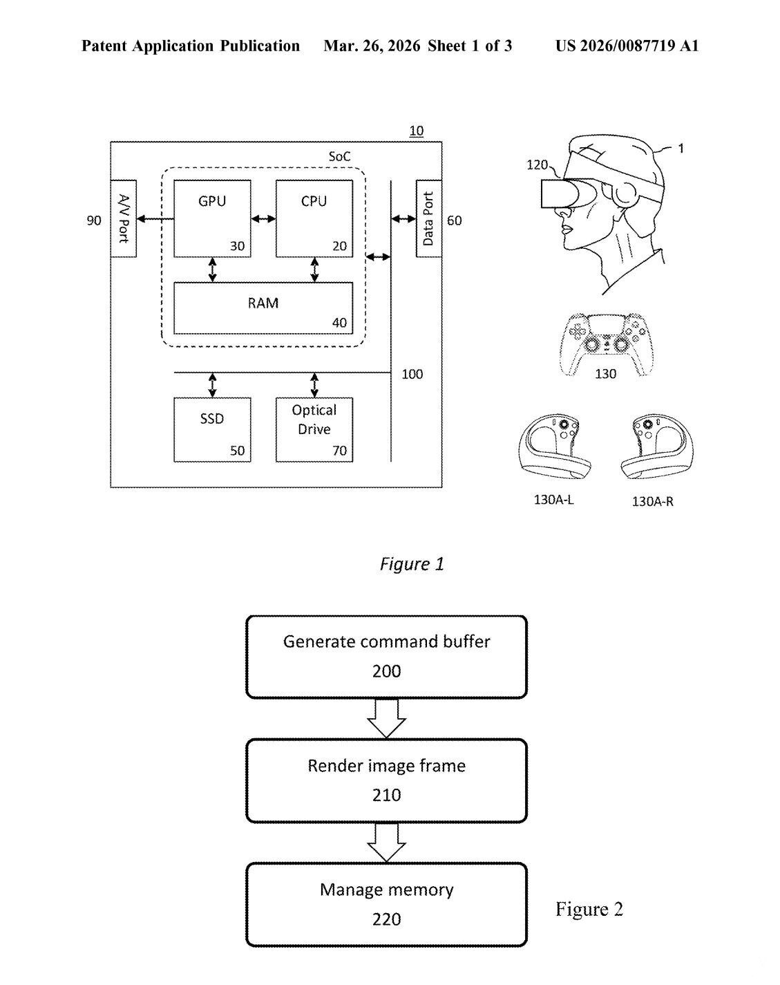
O impacto estratégico desta patente estende-se para além dos consoles domésticos de mesa, atingindo pilares críticos como a Realidade Virtual e o mercado de hardware portátil. No PlayStation VR, a redução drástica da latência de renderização é um requisito de saúde e conforto, já que qualquer atraso mínimo entre o movimento da cabeça e a resposta visual é o principal causador de cinetose (enjoo por movimento). Simultaneamente, a eficiência energética derivada de uma renderização mais inteligente é o “santo graal” para um possível sucessor portátil do ecossistema PlayStation, permitindo que um dispositivo com restrições térmicas e de bateria entregue uma experiência comparável aos consoles de mesa sem sacrifícios drásticos na fidelidade visual.
O que muda a partir desta movimentação é o nível de imersão que os desenvolvedores poderão alcançar em títulos de escala massiva. Se implementada, a tecnologia tornará obsoletas as transições bruscas de geometria, permitindo que florestas densas ou cidades populosas sejam exploradas em alta velocidade sem as distrações visuais que historicamente quebraram a “quarta parede” dos games. Para o mercado, a patente reafirma o compromisso da Sony com a inovação proprietária de hardware, sinalizando que a próxima geração do PlayStation não será definida apenas por teraflops brutos, mas por uma arquitetura inteligente capaz de gerenciar a complexidade dos dados de forma orgânica e invisível para o usuário final.
